Apple патентует 3D-интерфейс, анализирующий направление взгляда пользователя
Apple показала, какими могут быть 3D-интерфейсы будущих мобильных устройств. Компания подала заявку на новый патент под названием «Three Dimensional User Interface Effects on a Display by Using Properties of Motion», демонстрирующий, как можно использовать отслеживание движений глаз пользователя и данные других сенсоров для автоматической подстройки интерфейса под текущее положение пользователя и условия окружающей среды.
Apple показала, какими могут быть 3D-интерфейсы будущих мобильных устройств. Компания подала заявку на новый патент под названием «Three Dimensional User Interface Effects on a Display by Using Properties of Motion», демонстрирующий, как можно использовать отслеживание движений глаз пользователя и данные других сенсоров для автоматической подстройки интерфейса под текущее положение пользователя и условия окружающей среды.
Метод также задействует данные цифрового компаса, GPS, акселерометра и гироскопа. Но самой главной составляющей является слежение с помощью фронтальной камеры за тем, куда смотрит пользователь. Это позволит отображать «более реалистичные виртуальные 3D-объекты на дисплее».

Изображение — Free Patents Online
Пока в портфолио Apple нет 3D-дисплеев, на которых компания могла бы реализовать эту технологию. А вот в HTC EVO 3D, например, она могла бы пригодиться. Этот смартфон поддерживает трехмерную технологию, не требующую применения специальных очков. Но 3D эффекты очень чувствительны к тому, под каким углом пользователь смотрит на экран.
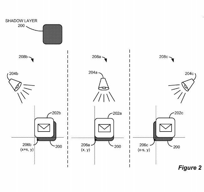
Как видно из картинки, на виртуальное 3D-изображение существенное влияние оказывает и рассеянный свет. В частности, тень позади экрана заметно изменяет позицию при разных положениях источника света. А отслеживание движений глаз пользователя позволит ему рассмотреть не только фронтальную проекцию картинки, но и боковые стороны 3D-объектов. По замыслу разработчиков, переключение между 2D и 3D-режимами осуществляется при помощи простых жестов.
Технология Apple также подходит для реализации в мониторах компьютеров. Стоит отметить, что слежение за взглядом с помощью камеры уже некоторое время используется в ноутбуках и телевизорах с 3D-экранами (примеры — монитор LG Flatron DX2000 и лэптоп Toshiba Qosmio F750), так что идея Apple, собственно, не нова для нас с вами. Посмотрим, будет ли одобрена патентная заявка.













