
В Apple изучают возможность встроить маленький дисплей в каждую клавишу MacBook
Это решит проблему с локализацией клавиатур в разных странах
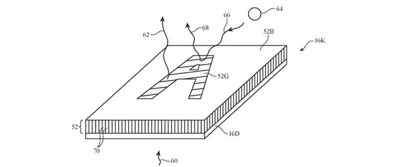
Apple получила патент на создание клавиатуры с небольшими дисплеями на каждой клавише, сообщает Macrumors. Это позволит отказаться от наклеек с буквами, цифрами и символами на клавишах ноутбуков, меняя надписи в соответствии с выбранной раскладкой.
В патенте говорится, что каждая клавиша на клавиатуре может иметь «связанный дисплей», подключенный к «схемам управления на клавиатуре» через «когерентный оптоволоконный пучок». Предполагается, что это будут OLED-дисплеи, а в качестве материалов могут быть использованы стекло, керамика, металл или полимер, или даже сапфир.
![]() |
Патент подчеркивает, что клавиатуры могут быть перенастроены «для разных языков, для временного преобразования стандартной клавиатуры в игровую, в которой клавиши соответствуют определенным внутриигровым действиям, или для иного изменения поведения, связанного с нажатием клавиш». Также на клавишах может появляться информация, какой регистр выбран для набора.
Такая адаптивная клавиатура может использоваться как в корпусе ноутбука, так и в отдельной клавиатуре для настольных компьютеров.



















