
У Honor может появиться свой собственный раскладывающийся телефон, как и у Samsung
Но, революционные инновации в мире смартфонов случаются не каждый день.
В течение многих лет производители смартфонов разрабатывали новые модели, чтобы сформировать будущее устройств. В то время как складные телефоны уже набирают популярность, сворачивающиеся телефоны выглядят следующим большим прорывом. По слухам, Samsung работает над таким телефоном, Motorola разрабатывает собственную концепцию, и теперь, похоже, Honor тоже готовится вступить в гонку.
Новый патент предполагает, что Honor работает над собственным раскладывающимся смартфоном
Недавно обнаруженный патент Honor предполагает, что (перевод источника) компания может разрабатывать собственный сворачивающийся или выдвигающийся дисплей, в зависимости от того, как вы хотите его описать. В патенте описывается опорная конструкция, необходимая для выдвижного механизма, — что-то вроде шарнира в складных телефонах.
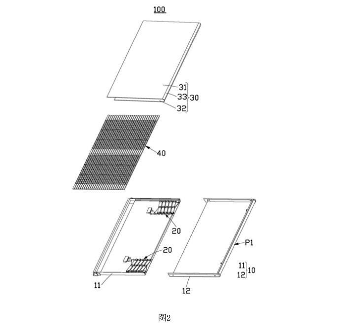
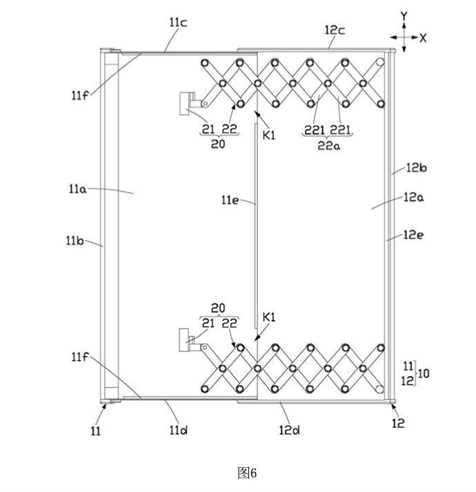
Изображения из патента Honor
Конструкция дисплея состоит из двух секций: одна остаётся неподвижной, а другая сдвигается в сторону. Эти секции соединены и закреплены с помощью эластичных балок, как подробно описано в патенте. Сдвигающаяся секция приводится в движение приводным механизмом, в частности линейным двигателем, в сочетании с механизмом, похожим на ножницы.
Описанная опорная конструкция, по-видимому, повышает устойчивость гибкого экрана в таком рулонном устройстве. Если опорная система сможет устранить все зазоры, эта конструкция может оказаться практичной и эффективной.
Конечно, не все патенты приводят к созданию реальных продуктов, поэтому тот факт, что этот патент был одобрен Китайским национальным управлением интеллектуальной собственности (CNIPA), не гарантирует, что Honor выпустит такое устройство. Тем не менее, это возможно, особенно если конкуренты выпустят аналогичные модели. И давайте не будем забывать, что у Honor большой опыт в производстве складных устройств.
Возьмём, к примеру, Honor Magic V3 — это самый лёгкий и тонкий складной смартфон на рынке. Сгиб всё ещё есть, но он гораздо менее заметен, чем у большинства других моделей, которые мы видели. Так что, если кто-то и сможет сделать складной смартфон, то это может быть Honor. И складной смартфон, сделанный правильно, может стать настоящей революцией. Представьте себе экран, который раскладывается сам, без необходимости «неуклюжего» разворачивания — довольно круто, правда?
Революционные инновации в мире смартфонов случаются не каждый день. Эй, иногда мы даже за целый год не получаем ничего, что изменило бы правила игры. Вот почему так важно, когда новый форм-фактор действительно выходит за рамки стадии прототипа и попадает к нам в руки. И, возможно, нам не придется слишком долго ждать этого момента.
Хотя Honor, возможно, не станет первой компанией, выпустившей складное устройство, Samsung может выпустить складной телефон уже во второй половине 2025 года, возможно, вместе со своими складными устройствами нового поколения — Galaxy Z Fold 7 и Z Flip 7.


















