Самые странные мобильные патенты
На днях DGL сообщал о новой патентной заявке Nokia, в которой описаны татуировки с хептической обратной связью, вибрирующие разными способами при получении входного звонка или SMS. Идея интересная, но у многих вызвала усмешку. А знаете ли вы, что это не единственный столь странный патент? Познакомимся еще с четырьмя.
На днях DGL сообщал о новой патентной заявке Nokia, в которой описаны татуировки с хептической обратной связью, вибрирующие разными способами при получении входного звонка или SMS. Идея интересная, но у многих вызвала усмешку. А знаете ли вы, что это не единственный столь странный патент? Познакомимся еще с четырьмя.

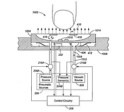
Телефон с подушкой безопасности от Джеффа Безоса
Основатель Amazon действительно запатентовал собственный механизм, защищающий телефон при падении. Технология использует камеру и гироскоп мобильного устройства, чтобы обнаружить процесс падения. После чего падающий телефон предпринимает превентивные меры: выбрасывая воздушные струи формирует своего рода воздушную подушку безопасности. Странно? Однозначно.

Чехол для мобильного устройства в виде банана
«Бананофон» или чехол для мобильных устройств в виде банана был запатентован еще в 2006 году. В патенте описывается чехол «удлиненной изогнутой формы, напоминающий банан, частично защищающий и удерживающий мобильный телефон. Хотя очень сомнительно, что держать в руке банан удобнее, чем традиционный мобильник. Кстати, в 2007 году тот же изобретатель запатентовал чехол для мобильных телефонов в форме… ботинка. Чем бы дитя не тешилось…

Поворотная клавиатура RIM
Этот патент был получен в 2010 году. В нем описана клавиатура, которую можно использовать в портретном или ландшафтном режимах – достаточно повернуть в нужную сторону.

Пояса для телефонов – на шею и талию
Эти примитивные решения в стиле hands-free в 2005 году запатентовал некий Кларенс Томас из Queens Village (штат Нью-Йорк). Пояса представляли собой специальные конструкции, позволяющие носить телефон и аксессуары и совершать звонки, оставляя руки свободными.
Клавиатура Apple AirJet
Apple запатентовала тонкую клавиатуру, позволяющую почувствовать кнопки еще до касания их пальцами. Все дело в миниатюрных воздушных потоках, поднимающихся над кнопками.











