Все, что вы хотите знать об iPhone 8
Мы собрали все слухи и сплетни о новом смартфоне Apple и проверили их правдоподобность
iPhone 7 вышел почти полгода назад, что означает – пришло время для спекуляций вокруг следующей модели. В конце концов, в этом году у iPhone десятый день рождения, так что Apple спешит сделать юбилейную версию особенной.
Так что если вы проигнорировали iPhone 7, дожидаясь iPhone 8 или iPhone 7s, или как там еще Apple решит его назвать, то похоже, следующий телефон будет тем самым обновлением дизайна, которого вы ждали. Только на возвращение разъема для наушников не надейтесь.
![]() |
| Весьма возможно, что Apple намерен основывать будущие дизайнерские решения на успехе «насышенно-черного» iPhone 7 |
Слух: Выпуск iPhone 8 будет отложен
Последние данные подтверждают более ранние сведения, что iPhone 8 не будет готов к традиционной сентябрьской дате запуска. Японский новостной сайт Macotakara утверждает, что iPhone 8 на самом деле назовут «версией» iPhone, и даже будучи анонсированным в сентябре как новый iPhone 7s и 7s Plus, он будет недоступен еще долгое время.
Причиной задержки может быть 3D-камера, обладающая новым потенциалом в распознавании лиц и поддержке дополненной реальности, которая, как ожидается, станет главным нововведением в iPhone 8/Edition. Оказывается, STMicroelectronics, новому поставщику сенсоров для 3D-камеры, нужно больше времени для увеличения серийного производства.
Правдоподобно? Возможно
О задержке выпуска iPhone 8/Edition заявили уже несколько источников. Поначалу речь шла о проблемах с сенсором отпечатка пальца на OLED-дисплее (о нем мы еще поговорим), теперь еще и с 3D-камерой возникли трудности. Ранее мы слышали, что Apple начинает сборку в начале этого года, сейчас – что производство начнется не раньше осени. Таким образом, по всем этими слухам, похоже, Apple подготавливает нас подождать свой революционно-новый iPhone еще немножко.
Слух: Зато нас ждут целых три модели
Согласно репортажам аналитиков KGI Securities, в 2017 году Apple запустит три модели новых iPhone. Одна модель похвастается 5,5-дюймовым OLED-экраном и сдвоенной камерой. Вторая – 5,5-дюймовым LCD-дисплеем и также сдвоенной камерой. Третью оснастят 4,7-дюймовым LCD экраном с обычной моделью камеры, весьма похоже на нынешнюю седьмую модель.
Правдоподобно? Да
Обычно KGI Securities совершенно точны в своих предположениях по поводу оснастки iPhone, да и поставщики уже какое-то время предсказывает переход Apple на дисплеи OLED в 2017 году. Apple уже использует OLED-дисплеи в своих наручных часах и сенсорной панели MacBook Pro, так что применение этих экранов в iPhone выглядит довольно логичным следующим шагом. Ранее Bloomberg сообщал, что Apple и Sharp вели переговоры о возможности будущих поставок OLED- дисплеев.
Кроме лучшей чувствительности, OLED дает возможность изготовить безрамочный телефон с изогнутым или гибким дисплеем, что однозначно поднимет iPhone 8 на невероятные высоты и заставит назвать «революционным прорывом».
Слух: Apple работает над собственным сенсором отпечатка пальца для iPhone 8
Именно работа над собственным сенсором может затянуть начало производства значительно позже обычной даты сентябрьского анонса, по мнению Digitimes. Apple разрабатывает эту деталь, комбинируя технологии двух своих приобретений, разработчика сенсоров AuthenTec и производителя «идентификационного стекла», компании Privaris. Digitimes заявляет, что iPhone 8 запустят в ноябре этого года.
Правдоподобно? Не особенно
Поскольку Apple пустила слух об исчезновении «домашней» кнопки на iPhone 8, то идея заменить идентификацию пользователя с тактильной на иную биометрическую имеет смысл. Это вполне укладывается в одну линию с недавними слухами о снабжении iPhone 8 технологиями распознавания лиц и сканирования сетчатки глаза.
Так или иначе, остается под вопросом, сдвинут ли в Купертино дату выпуска iPhone хотя бы на несколько недель. К тому же, Digitimes далеко не самый лучший и своевременный источник сведений, когда дело касается айфоновских сплетен.
Слух: В новом iPhone нас ждет разъем USB-C
Всего через несколько дней после того, как The Wall Street Journal опубликовал свежую информацию о новом iPhone 8, включающую сведения о замене восьмиконтактного порта Lightning на USB-C разъем, известный аналитик Apple Мин-Чи Куо опроверг эту информацию.
Если верить Куо, у Apple недостаточно стимулов для использования USB-C. Во-первых, этот разъем занял бы слишком много места внутри аппарата, что неизбежно привело бы к изменениям форм-фактора. А во-вторых, поскольку USB-C универсален, переход на него лишит компанию авторских отчислений, которые Apple получает за использование своей собственности – технологии Lightning – от сторонних производителей аксессуаров для iOS.
Правдоподобно? Как посмотреть
Смена портов не относится к решениям, которые Apple принимает легко, так что выгода должна была радикально перевесить использование имеющихся технологий. Lightning работает для iPhone и iPad, несмотря на то, что они несовместимы даже с новыми MacBook. Опять же, Куо – довольно надежный источник информации со сборочных линий Apple.
Все же, мы пока не можем полностью игнорировать сообщение WSJ. Возможно, Apple рассматривал возможность перехода на USB-C. Мы знаем, что у Apple есть опыт решительного отбрасывания в сторону устаревших технологий, включая свои собственные. Помните 30-контактный коннектор, пожертвованный в пользу нынешнего Lightning-порта?
Переход на USB-C сделал бы продукты Apple более совместимыми с аксессуарами и периферией сторонних производителей, что довольно выгодно сейчас, когда iPad Pro рекламируется как полная замена PC. Переход на USB-C, наверняка, добавил бы продуктам Apple больше удобства для пользователя, но он также может противоречить стратегии закрытой экосистемы Apple, которая совершенно не препятствует продажам iPhone и iPad. Новые MacBook также снабжены USB-C, так что подобный шаг для iPhone не стал бы совсем уж неожиданным.
Слух: Дисплей будет изогнутым
В ранних публикациях об OLED-дисплее iPhone 8 упоминалось, что Apple намеревалась сделать изогнутый экран. В WSJ сообщают, что план все еще в работе, хотя китайская исследовательская компания TrendForce еще в феврале сообщила, что ранние прототипы не дотянули до требований Apple. Очевидно, это больше не проблема: по словам источников WSJ, Apple «заказала достаточно подходящие компоненты для серийного производства».
Apple может получить изогнутые дисплеи от Samsung, начавшей производить их для собственных телефонов в 2014 году, и остающейся пока единственным производителем, способным изготовить нужное для Apple количество изогнутых OLED-панелей.
Правдоподобно? Вполне
Изогнутый OLED-дисплей стал бы ярким новшеством в дизайне для Apple, а для нас – неоспоримой причиной купить себе iPhone 8, по слухам, оцененный не менее чем в 1 000 долларов. Мы уже слышали, что Apple столкнулся с большими препятствиями в попытках найти производителя, способного обеспечить достаточное для создания следующего поколения iPhone количество OLED-панелей, однако на информацию WSJ об Apple вполне можно полагаться. Так что можно ожидать изогнутый OLED-дисплей, который гарантированно поставит iPhone 8 особняком в ряду смартфонов сходных параметров.
Кстати, вполне возможно, что в следующем году мы увидим как iPhone 7s и 7s Plus с LCD-экранами, так и новехонький iPhone 8 с OLED-дисплеем.
Слух: Фронтальная камера получит функцию распознавания лиц
iPhone 7 и 7 Plus получили полное обновление тыловой камеры, 7 Plus – даже с дополнительным телеобъективом. Теперь же Apple обратила внимание на фронтальную камеру, снабдив ее в iPhone 8 функцией распознавания лиц, 3D сенсором, инфракрасным приемником и передатчиком. Такие слухи идут от аналитика KGI Securities Мин-Чи Куо, и им вторит исследование инвестиционной фирмы Cowen and Company, опубликованное Business Insider. Ранее в феврале Apple выкупил израильский стартап распознавания лиц RealFace, что еще больше наводит на мысль об экспериментировании компании над альтернативными способами биоидентификации, включая распознавание сетчатки глаза. Это могло бы заменить распознавание отпечатка пальца как способа разблокировки смартфона.
Новые возможности фронтальной камеры также обещают внушительные бонусы для геймеров. Только представьте, в играх больше не нужны будут аватары – вместо них новая камера сможет сделать трехмерное селфи.
Kуо также отмечает, что в следующем году Apple планирует разместить 3D-сенсор и в основной камере.
Правдоподобно? Трудно поверить, но да
Мы впервые слышим об объединении новых лазерных технологий и распознавания лиц, но все же эта информация не явилась из ниоткуда. Apple купил PrimeSense с технологией инфракрасных датчиков в 2013 году, и вот недавно компания внедрила программное обеспечение по распознаванию лиц в Photos для iOS 10 и macOS Sierra. Таким образом, вполне логичным видится для Apple и следующая ступень развития этого умения: разработать камеру с сенсорами для распознавания лиц в реальном времени, что позволит творить в дополненной реальности штуки, подобные результатам применения селфи-фильтров в Snapchat.
Слух: Новый айфон будет стоит тысячу долларов
Говорят, в честь 10-летней годовщины Apple создает iPhone со всеми возможными наворотами и прибамбасами. По словам Fast Company, этот невероятный аппарат назовут iPhone 8 или iPhone X и оценят более чем в тысячу долларов. Повышение цены связано с тем, что новый смартфон получит OLED-дисплей, который обойдется компании вдвое дороже экрана LCD.
Правдоподобно? Скажем так: пора начинать копить
Учитывая, что Apple намерена сопроводить появление iPhone 8/X шумной демонстрацией кучи новых возможностей, легко догадаться, что это определенно повлечет повышение его цены. И оценка более чем в тысячу долларов вовсе не выглядит издевкой: 256-Гбайтная версия iPhone 7 Plus уже теперь стоит 969 долл. iPhone 8/X крупнее, OLED-дисплей значительно дороже, памяти больше. Так что вполне логично, если он окажется самым дорогим из когда-либо произведенных «айфонов».
Слух: Ему вернут стальной корпус
По мнению DigiTimes, в своем следующем iPhone компания Apple возвращается к корпусу из нержавеющей стали с двумя стеклянными панелями: спереди и сзади. Добавим к этом, что Apple переходит на новый способ штамповки металлических рамок, что, как ожидается, снизит время и стоимость производства на 30-50% от нынешних затрат на высокоточную сборку моноблоков. Рамку обеспечивают те же Foxconn и Jabil, что поставляли эту деталь для iPhone 4.
Правдоподобно? Да
Это слух подтверждается и более старым сообщением, предсказывающим возвращение к «стеклянному iPhone». Кроме того, у нас сложилось впечатление, что Apple собирается запустить несколько моделей iPhone 8 с использованием различных материалов, по различным ценам. И это выглядит не лишенным смысла: если самая дорогая модель выполнена из стекла и стали, то на другом конце линейки мы увидим более дешевый алюминиевый корпус. То же распределение мы видим у модельного ряда наручных часов Apple.
Слух: iPhone выйдет в малиновом цвете
Сообщают, что в работе у Apple было три новых iPhone для 2017 года: улучшенные iPhone 7s и 7s Plus и полностью новая разработка – iPhone 8. Противоречащие друг другу слухи описывают разные новшества у каждой модели, но вот еще одна подробность японского сайта Macotakara, iPhone 7s и 7s Plus появятся и в новом малиновом цвете, вдобавок к стандартным черному, белому, золотисто-розовому, золотому и серебристому.
Правдоподобно? Вполне
У Macotakara вполне достойная репутация как ресурса по сбору и анализу «яблочных» слухов, например, они делали предсказание об исчезновении разъема для наушников задолго до официального объявления. Блог ссылается на тайваньских производителей, также говорящих, что 7s и 7s Plus будет выглядеть подобно 7 и 7 Plus.
Слух: Появится беспроводная зарядка
Тут мы начинаем слышать подтверждение более ранним известиям. Аналитик Мин-Чи Куо настаивает на своем предположении о том, что все модели 2017 года будут стеклянными. По его мнению, Apple переходит на стекло для упрощения беспроводной зарядки. Даже при том, что некоторые металлические и пластиковые смартфоны и поддерживают беспроводную зарядку, с использованием в конструкции стекла она ускоряется и реже сбоит.
Добавление беспроводной зарядки может вдохновить на апгрейд больше адептов Apple, предполагает Куо. Судя по известиям, доносящихся от производителей, в 2017 году ожидается изготовление большего числа экземпляров, чем когда-либо до того. Поставщики отчитываются о готовности отштамповать 120-150 млн iPhone, что легко бьет 110-120 миллионов экземпляров шестой модели в конце 2014 года.
Правдоподобно? Да
Добавление беспроводной зарядки – один из первых достоверных слухов, дошедших до нас по поводу iPhone 8, и мы, без сомнения, продолжим слышать об этом до самого выпуска аппарата. Если Apple действительно решился на беспроводную зарядку – переход на «стеклянные» корпуса также вполне оправданно. Собственно, этим и объясняется выбор стекла как материала. В то время как «меньшие» iPhone страдают от нехватки OLED-дисплеев вследствие производственных сложностей, обеспечение каждой модели беспроводной зарядкой – путь к превращению следующего «айфона» в просто-таки обязательную покупку.
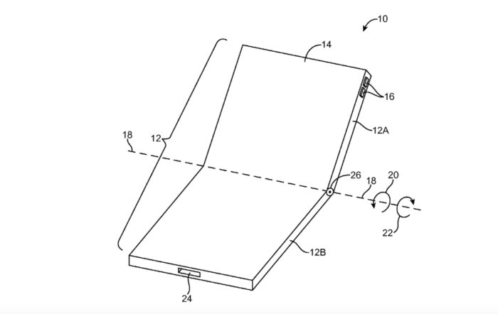
Слух: Он складывается как книжка
Есть шанс, что следующий iPhone можно будет сложить, словно захлопнуть книгу. Apple только что получил патент на «книжкообразный» дизайн для iPhone с OLED-дисплеем, который можно складывать пополам.
![]() |
| Источник: KioskedUSPTO |
Правдоподобно? И не надейтесь
Одно только наличие у Apple патента необязательно означает, что его воплотят в жизнь. Кроме того, у Apple и так полно забот с OLED-экранами, так что времени и ресурсов вполне может не хватить на оснащение iPhone 8 гибким складным дисплеем. Но и без этого есть все основания полагать, что это будет нечто особенное.

















