
Когда выйдет складной iPhone? Новости, слухи, дизайн и примерная цена
Последние новости о складном iPhone: когда ждать, сколько стоит и какие технологии получит новый Apple смартфон.
Складной iPhone — последние новости, дата выхода и цена
Складной iPhone уже давно стал объектом множества слухов и ожиданий. Apple, по данным инсайдеров, активно работает над разработкой своего первого складного смартфона. Но когда именно выйдет это устройство, как оно будет выглядеть и сколько будет стоить — ответы пока остаются лишь предположениями. В этой статье мы собрали все доступные сведения о складном iPhone и расскажем, чего ждать от инновационного гаджета.
Что такое складной iPhone и когда его ждать?
Складной iPhone — это первый гибкий смартфон Apple с экраном, который можно сложить. По последним данным, запуск этого устройства ожидается не раньше 2026 года, возможно, ближе к 2027. Ранее предполагалось, что релиз состоится в 2025, но из-за технических сложностей и высоких требований к качеству процесс разработки мог затянуться.
Apple планирует не просто выпустить экспериментальный гаджет, а создать устройство с высокой надёжностью и удобством. По слухам, складной iPhone будет обновляться ежегодно, как и обычные модели.
Цена складного iPhone в России
Пока точной цены нет, но эксперты сходятся во мнении, что устройство будет очень дорогим. Предполагается, что складной iPhone будет стоить от 2100 до 2500 долларов (170 000-200 000 рублей). Такая цена обусловлена сложной конструкцией, новыми технологиями и премиальными материалами.
Для сравнения, современные складные телефоны Samsung и Huawei стоят около 100 000–120 000 рублей, а у Apple обычно цена выше из-за бренда и качества.
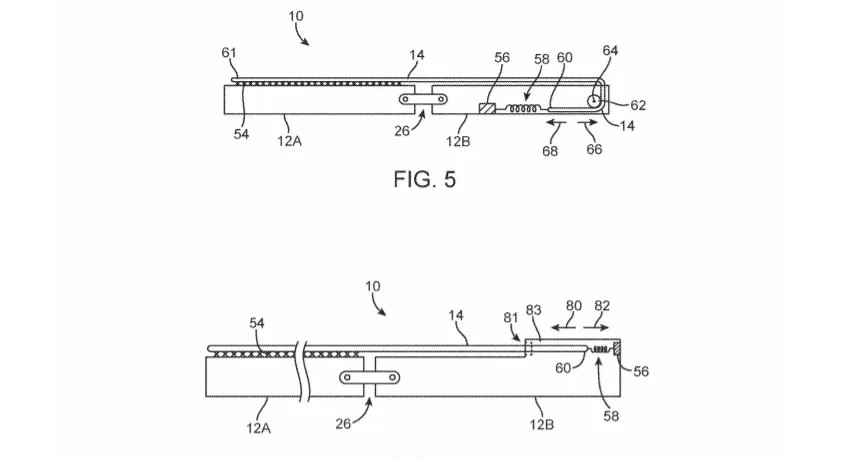
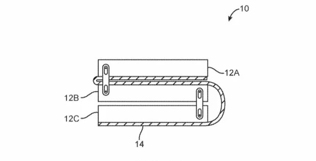
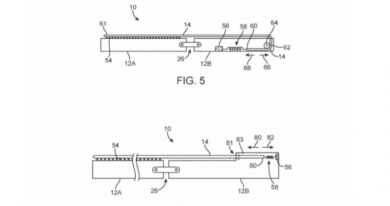
Дизайн и дисплей: какие варианты рассматриваются?
По утечкам, складной iPhone может иметь два типа конструкции:
iPhone Flip
Складной телефон формата «раскладушка» с двумя отдельными дисплеями, соединёнными шарниром. Дизайн похож на Samsung Galaxy Z Flip или Motorola Razr 2020, с закруглёнными краями и яркими цветами корпуса.
iPhone Fold
Устройство с одним складным экраном размером около 7,3–7,9 дюймов (около 18–20 см по диагонали), который при раскрытии превращается в планшет.
Есть сведения, что экран складного iPhone будет иметь минимальную складку, высокое разрешение и частоту обновления 120 Гц. Возможно, будет поддержка стилуса Apple Pencil, что выделит устройство на фоне конкурентов.
Технологии и особенности
Apple экспериментирует с различными новинками для складного iPhone:
- Камера под дисплеем и отсутствие выреза для фронтальной камеры.
- Защитный слой, способный заполнять микротрещины и защищать экран от повреждений.
- Шарнир из жидкого металла или аморфного композита для долговечности.
- Сенсорные кнопки на боковых гранях для управления устройством.
- Возможность поддержки Touch ID и высокая энергоэффективность аккумулятора ёмкостью около 5000 мАч.

Такие технологии позволят сделать складной iPhone не только стильным, но и надёжным и удобным в повседневном использовании.
Похожие устройства других производителей
5 вещей, которые мы бы хотели увидеть в складном iPhone
1. Качественные камеры, которые не уступают топовым iPhone.

2. Поддержку Apple Pencil для работы и творчества.

3. Надёжную конструкцию шарнира и корпуса, чтобы избежать проблем первых моделей складных телефонов.

4. Интеграцию с iPadOS или адаптированную операционную систему, чтобы использовать весь потенциал большого экрана.

5. Продолжительное время автономной работы — чтобы телефон выдерживал активное использование более суток.

Смартфон и планшет в одном устройстве
Складной iPhone — один из самых ожидаемых гаджетов Apple, который может изменить рынок мобильных устройств. Несмотря на неоднозначные слухи о сроках выхода и высокой цене, вероятно, что Apple выпустит действительно качественное и инновационное устройство.
Появление складного iPhone даст пользователям выбор между традиционным смартфоном и удобным планшетом в одном устройстве. Важно, что Apple уделяет внимание надёжности конструкции и новым технологиям, что обещает уникальный опыт использования.
Следите за обновлениями и новостями, чтобы не пропустить релиз складного iPhone и узнать, когда он появится в продаже в России.















