
Складной iPhone: какой технологический прорыв готовит нам Apple?
В отличие от конкурентов, Apple молчит о своих планах. Какие инновации могут скрываться за складным дисплеем будущего флагмана?
Последнее мероприятие Apple прошло без малейших намеков на складной iPhone. И учитывая скудность слухов, я бы усомнился, что такой телефон вообще находится в разработке; это может быть просто отложенный проект Apple.
На данный момент наш список лучших складных телефонов возглавляют такие модели, как Samsung Galaxy Z Fold 6, Galaxy Z Flip 6 и OnePlus Open. Так что есть место для некоторого ориентированного на iOS прорыва, хотя когда это произойдет, неясно.
Наш лучший прогноз — не ранее 2025 года, когда Apple сможет быть достаточно уверена, что технология складных телефонов достаточно созрела для ее выхода на арену. А пока читайте дальше, чтобы узнать все, что мы слышали до сих пор, и что вам нужно знать о так называемом складном iPhone.
Вкратце
- Что это? Потенциально первый складной телефон от Apple.
- Когда он выйдет? Возможно, в 2026 году, а может и гораздо позже.
- Сколько он будет стоить? Ожидайте, что он будет дорогим.
Дата выхода и цена складного iPhone
Возможно (основываясь на многочисленных слухах), что iPhone Fold может появиться в 2025 году.
Но если что, он может появиться и гораздо позже. Отчет от октября 2018 года предполагает, что Apple может сначала выпустить складной iPad в конце 2024 или начале 2025 года, а складной iPhone появится позже.
Другой отчет, датированный февралем 2024 года, утверждал, что запуск складного iPhone запланирован на сентябрь 2026 года, что, вероятно, совпадет с выходом iPhone 18. Этот отчет добавлял, что Apple, по-видимому, переводит большую часть команды Vision Pro на разработку этого телефона, и что компания нацелена на продажи в 50 миллионов единиц. Утверждения о 2026 годе с тех пор были подкреплены утечкой дорожной карты Apple.
Совсем недавно мы слышали, что складной iPhone может быть отложен с конца 2026 года до начала 2027 года, а некоторые аналитики теперь считают, что проект складного iPhone может быть в конечном итоге отменен, так что есть шанс, что мы его вообще не увидим.
И еще совсем недавно в отчете TrendForce говорится, что Apple «вряд ли выпустит складной телефон до 2027 года» из-за «строгих требований компании к складкам и надежности».
С тех пор мы слышали, что, хотя запуск в 2026 году и планировался ранее, Apple ускорила разработку, чтобы выпустить складной iPhone в 2025 году.
Однако самые последние утечки о складном iPhone снова указывают на запуск в 2026 году. Мы слышали о дате выхода в 2026 году несколько раз в конце 2024 и начале 2025 года, а утечка совсем недавно, в июне 2025 года, указывала в этом направлении. В июле 2025 года мы слышали, что Apple начала делать прототипы устройства с целью запуска во второй половине 2026 года, так что это наш лучший прогноз на данный момент. При этом Apple, по-видимому, по крайней мере близка к выбору поставщика дисплеев для телефона.
Когда бы он ни вышел, складной iPhone, вероятно, не будет разовым явлением: один отчет предполагает, что он будет получать ежегодное обновление.
Естественно, мы не знаем, сколько может стоить складной iPhone, если и когда он появится, но, учитывая, что многие складные телефоны стоят значительно больше 100 000 рублей, можно с уверенностью ожидать высокой цены. Одна из немногих утечек цен на складной iPhone, которую мы видели до сих пор, указывает на цифру в 250 000 рублей, так что мы бы рекомендовали начать копить уже сейчас.
При этом более свежая утечка цен на складной iPhone указывает на более низкую, но все же высокую цену в 200 000 рублей, в то время как третья утечка находится где-то посередине, утверждая цену примерно в 230 000 рублей, а совсем недавно мы слышали, что складной iPhone будет стоить от 210 000 до 250 000 рублей.
Последние утечки цен на складной iPhone на момент написания статьи указывают на цену от 180 000 рублей до 200 000 рублей или намного больше, чем у текущих складных моделей, в зависимости от того, кому вы верите.
Но, несмотря на вероятную высокую цену, это может оказаться очень успешным телефоном. Авторитетный аналитик Марк Гурман предсказывает, что складной iPhone будет продаваться намного лучше, чем любая из моделей Plus или mini, или слуховой iPhone 17 Air.
Тем не менее, аналитик Мин-Чи Куо советует ожидать «премиальной цены» на складной iPhone, и это может ограничить его продажи.
Что касается названия, мы слышали слухи, что он может называться iPhone Flip, вероятно, имея в виду патенты в стиле Galaxy Z Flip, которые намекают на формат раскладушки. По правде говоря, его могут назвать как угодно.
Утечки и слухи о складном iPhone
На данный момент слухи о складном iPhone в основном делятся на два лагеря: те, которые предполагают, что у устройства будет настоящий складной дисплей, и другие, которые указывают на то, что у него будет два отдельных экрана, разделенных шарниром.
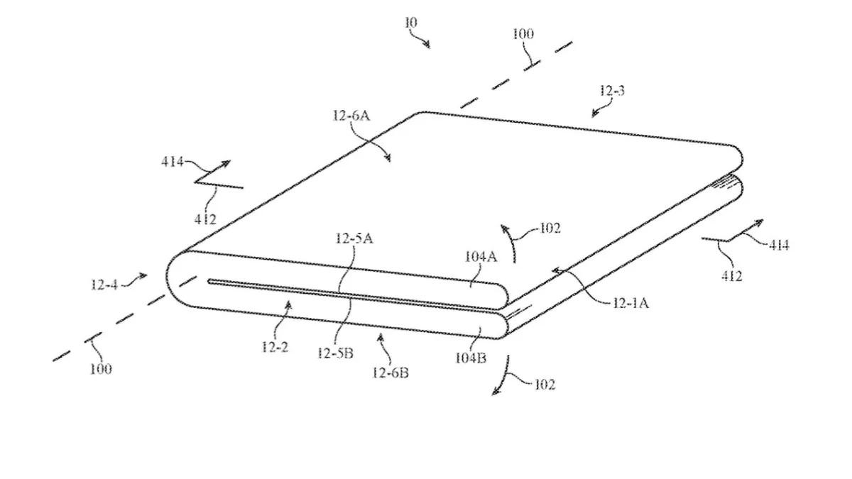
Несколько дизайнов были раскрыты в патентной документации еще в феврале 2019 года. Некоторые из них имели большой дисплей на внутренней стороне складных секций с одним шарниром, в то время как у другого было два шарнира для гипотетических трех дисплеев, которые складываются в Z-образную форму.
Другие патенты, например, обнаруженный в марте 2020 года, показывают, что Apple может работать над складным устройством с двумя отдельными дисплеями, разделенными шарниром. Хотя запатентованный дизайн предполагает, что технологический гигант попытается максимально минимизировать рамку между экранами, она все равно будет более заметной, чем у по-настоящему складного дисплея.
Именно это и предположил инсайдер Джон Проссер в Twitter в том же году: дизайн складного iPhone от Apple (на тот момент) имел две отдельные панели дисплея на шарнире.
Хотя это, по общему мнению, всего лишь «текущий прототип», а не окончательный дизайн, он описывается как имеющий закругленные края, как у iPhone 11, в отличие от угловатых краев у серий iPhone 12 и iPhone 13.
Также нет выреза для фронтальных камер: датчики Face ID будут размещены в «крошечной рамке» на внешнем дисплее, по словам Проссера.

Это совпадает с более поздней утечкой от Проссера, которая предполагала, что iPhone Flip может иметь форму раскладушки — похожую на Motorola Razr 2020 или Samsung Galaxy Z Flip — и тот же источник сказал, что он будет продаваться в «веселых цветах».
Мы думаем, это означает, что вы можете ожидать несколько смелых оттенков для iPhone Flip, когда он выйдет.
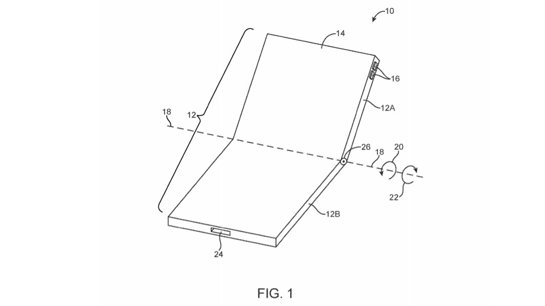
Мы видели еще одно изображение того, как мог бы выглядеть складной iPhone, благодаря другому патенту, на этот раз показывающему устройство, которое раскладывается в более крупное, как Samsung Galaxy Z Fold 5. Это устройство, которое мы называем iPhone Fold, имеет один дисплей, который длиннее другого, так что, когда он сложен, вы можете видеть свои уведомления на одном краю.
Отдельная утечка предполагает, что этот складной iPhone может поставляться с поддержкой Apple Pencil и иметь дисплей размером 7,3 или 7,6 дюйма.
Действительно, совсем недавно мы слышали, что первый складной телефон Apple может иметь экран размером примерно 7-8 дюймов, что, вероятно, означает, что это будет складное устройство в стиле книги.
Совсем недавно другой источник утверждал, что складной iPhone может иметь 7,9-дюймовый экран и что складной дисплей может находиться снаружи телефона, как у Huawei Mate Xs 2, изображенного ниже. Это означало бы, что есть только один дисплей, но его можно использовать как телефон или планшет в зависимости от того, сложен он или разложен.
Huawei Mate Xs 2
В январе 2025 года мы также слышали, что складной iPhone может иметь основной дисплей от 7,6 до 7,9 дюйма, а также удивительно маленький 5,3-5,5-дюймовый внешний экран. Эта утечка добавляет, что у него будет более широкое соотношение сторон, чем у Samsung Galaxy Z Fold 6, и что он будет использовать LTPO (низкотемпературный поликристаллический оксид), что, вероятно, означает частоту обновления 120 Гц.
В другом месте мы слышали, что складной iPhone может иметь складной дисплей более 12 дюймов, что звучит необычно много. Они также заявили, что телефон будет иметь толщину 9,2 мм в сложенном состоянии и всего 4,6 мм в разложенном (хотя более свежая утечка о складном iPhone указывает на 4,8 мм). Тот же источник, что и в случае с 4,6 мм, также указывает на аккумулятор емкостью 5000 мАч и двойную заднюю камеру со сверхширокоугольным объективом, но без телеобъектива.
Совсем недавно (в феврале 2025 года) мы слышали, что складной iPhone может иметь экраны 7,74 и 5,49 дюйма. Похожее утверждение мы слышали в марте, когда TrendForce заявила, что складной iPhone будет иметь 7,8-дюймовый складной экран и 5,5-дюймовый внешний дисплей, размеры которых мы также ранее слышали от аналитика Мин-Чи Куо, так что они вполне могут быть точными.
Digital Chat Station с тех пор добавил, что складной экран будет иметь разрешение 1920×2713, а внешний экран — 1422×2088. Они также утверждают, что складной экран будет иметь камеру под дисплеем, но у складного iPhone не будет Face ID.
И они сказали ожидать, что обе задние камеры будут 48 Мп, складной экран будет 7,58 дюйма, а конструкция будет включать «шарнир из более прочного аморфного металлостеклянного композита и корпус из титанового сплава».
Это утверждение о камере под дисплеем и отсутствии Face ID с тех пор было сделано и другим источником, так что это, по крайней мере, может быть правдой. Теперь мы слышали это уже в третий раз, причем последняя из этих утечек добавляет, что у него, по-видимому, будет 24-мегапиксельная камера под дисплеем.
Мы также слышали от другого источника, что этот экран может быть тоньше и легче, чем существующие дисплеи складных телефонов, а также обеспечивать более высокую яркость и лучшую цветопередачу.
Помимо размера и разрешения экрана, мы также слышали, что дисплей складного iPhone может иметь почти невидимую складку.
Мы также слышали от аналитика, что Apple тестирует электронный бумажный дисплей (EPD) от E Ink для внешнего экрана складного телефона. Это было бы похоже на экран электронной книги, но в цвете, и его можно было бы оставлять включенным на долгое время, не разряжая батарею.
Складной телефон Apple также может иметь защитный слой поверх экрана, который может защищать от трещин и заполнять уже существующие микротрещины, чтобы избежать переломов. У Apple есть патент на эту технологию, так что это, по крайней мере, то, с чем компания экспериментирует.
В другом месте патент Apple подробно описывает тонкий, но прочный шарнир, который можно было бы использовать со смартфоном с гибким дисплеем. Это не говорит нам многого, но это еще одно доказательство того, что iPhone Fold или iPhone Flip может быть в разработке. В связи с этим мы слышали, что складной iPhone может иметь шарнир из жидкого металла для лучшей долговечности, а другой источник добавляет, что шарнир будет более качественным, чем у других телефонов.
Кроме того, один отчет также предполагает, что у Apple есть два дизайна складных iPhone, которые уже прошли тесты на прочность. Это не означает, что это произойдет в ближайшее время, но это хороший знак, что Apple на правильном пути.
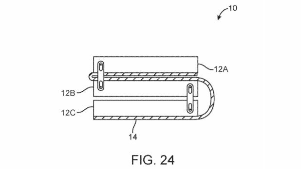
Еще один патент Apple, который мы видели, подробно описывает сенсорные, твердотельные кнопки, которые позволили бы пользователям управлять складным iPhone с помощью его краев, а не только дисплея. Наряду с основными иллюстрациями устройства (ниже), Apple объясняет, как сенсорные датчики будут находиться внутри «боковых стенок» (в отличие от обычных стенок), сделанных из «тонких металлических линий, которые достаточно малы, чтобы быть невидимыми для глаза».

Помимо дизайна и дисплея, мы слышали, что складной iPhone может иметь двойную камеру, Touch ID и ультратонкий аккумулятор. Несмотря на это, складной iPhone может обеспечивать работу в течение всего дня, при этом Apple, по-видимому, делает приоритетом долговечность батареи. Теперь мы конкретно слышали, что аккумулятор складного iPhone может быть 5000-5500 мАч.
Другая утечка о складном iPhone также указывала на Touch ID, добавляя, что у складного iPhone, по-видимому, будет две камеры сзади и по одной на каждом экране, что он будет доступен в черном и белом оттенках и что он будет использовать модем Apple C2.
И помимо утечек, мы также видели, по сути, прототип iPhone Flip, сделанный неофициально командой в Китае. Вы можете увидеть некоторые изображения этого ниже.
При его создании было сделано много компромиссов, но если складное устройство Apple будет похоже по дизайну на линейку Samsung Galaxy Z Flip, то оно может выглядеть как гораздо более отполированная версия этого.
iPhone Flip: 5 вещей, которые мы хотели бы видеть
1. Первоклассные камеры
Складные устройства устраняют разрыв между телефонами и планшетами, но те, что мы видели, например, Samsung Galaxy Fold и Huawei Mate Xs, оснащены лучшими камерами, представленными в других флагманских телефонах этих брендов.
Хотя нет причин предполагать, что Apple не поступит так же, технологический гигант десятилетиями не утруждал себя обновлением камер в своих iPad. Более того, учитывая, что iPhone SE 2020 не улучшил объектив своего предшественника, iPhone 8, Apple создала прецедент, который мог бы привести к тому, что ее складной iPhone получит одну камеру вместо полного набора, который можно увидеть в сегодняшних лучших iPhone.

2. Поддержка Apple Pencil
Один из способов, которым Apple могла бы легко сравниться с другими складными устройствами: представить поддержку Apple Pencil. Samsung представила интеграцию стилуса со своей серией Z Fold, и, учитывая, как Apple Pencil 2 магнитно крепится к новейшим планшетам iPad Pro, мы бы хотели увидеть, как стилусы Apple могут быть интегрированы с ее складным iPhone.

3. Старая добрая «яблочная» отделка
Да, мы скажем это: хотя первые несколько раундов складных устройств были впечатляющими просто тем, что у них получились складные экраны, у них были недостатки в дизайне, от проблем с шарнирами до трескающихся экранов. Мы бы хотели увидеть дизайн, который делает все гладким и выдерживает наказание.
Не то чтобы линейка Apple безупречна, как показали трескающиеся дисплеи iPhone, неисправные клавиатуры-бабочки и троттлинг батареи на старых iPhone. Но, по крайней мере, по внешнему виду и функциональности Apple сохранила репутацию элегантного и функционального дизайна.

4. Интеграция с iPadOS
Когда iPadOS отделилась от iOS, мы были взволнованы возможностями новой операционной системы, которая по-настоящему использует пространство экрана iPad. До сих пор мы были довольно довольны функциями многозадачности, которые позволяют нам открывать несколько приложений одновременно, что мы лично нашли удобным при написании в Google Docs и поиске информации в Safari, например.
Мы бы хотели увидеть версию ОС в складном iPhone по тем же причинам, хотя, конечно, есть много неизвестных. Будет ли дисплей устройства достаточно большим, чтобы правильно работать с элементами управления iPadOS? Если он увеличится до 7,9 дюйма, размера экрана iPad Mini, он, возможно, сможет это сделать, но пока мы не знаем, как будет выглядеть складное устройство, неясно, насколько хорошо подойдет iPadOS.

5. Мощный аккумулятор
Складные телефоны, такие как Galaxy Fold и Huawei Mate X, имели приличное время автономной работы для устройств первого поколения, но мы бы хотели большего в версии Apple. iPhone в целом не славятся тем, что работают дольше дня, а флагманы от Samsung и Huawei оснащены аккумуляторами большей емкости (в миллиампер-часах), которые, кажется, позволяют им работать дольше одного дня.

Мы бы хотели, чтобы Apple использовала дополнительное пространство устройства, чтобы ее собственный складной телефон работал дольше, чем у конкурентов.
Обзор iPhone 16 Pro: я пользовался им год, и вот мои впечатления




























