
Больше складок, больше батарей: патент раскрыл главный секрет тройного складного Samsung
Компания разместит по одному аккумулятору в каждой из трех секций, но решит ли это проблему автономности складных устройств?
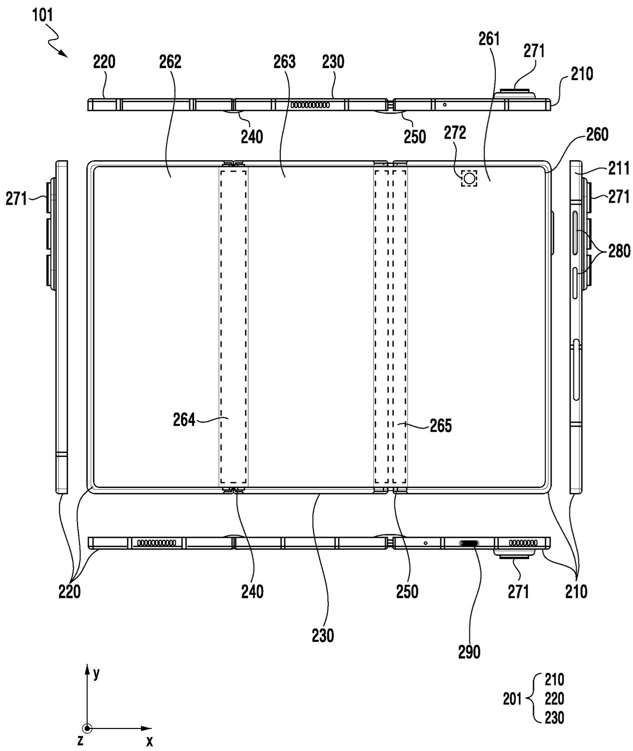
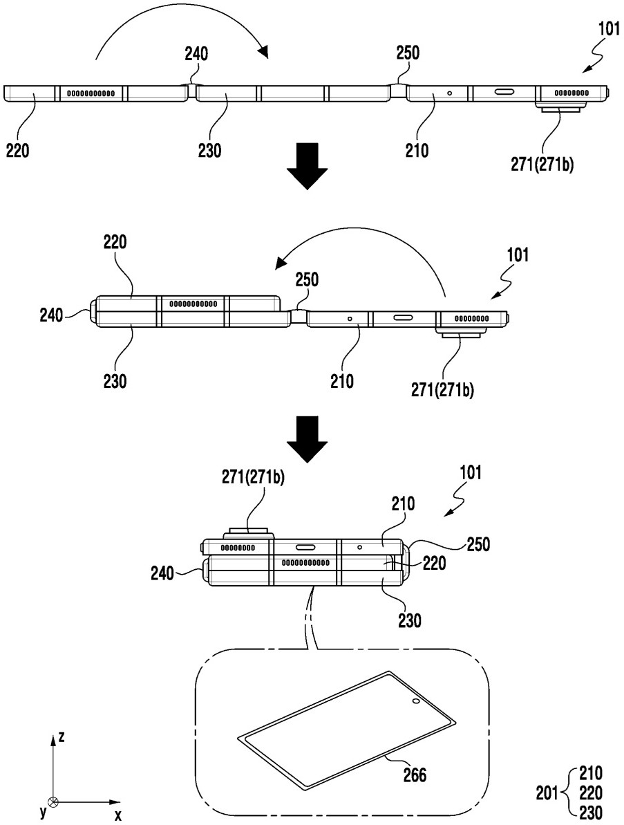
Samsung выпустит свой первый смартфон с тройным сложением в этом году, но компания пока не назвала дату запуска. И пока мы ждем дополнительной информации от Samsung об этом устройстве, по слухам, названном Galaxy Z TriFold, патентный документ, опубликованный KIPRIS, показал, что тройной складной смартфон будет оснащен тремя аккумуляторами.
Поскольку это смартфон с тройным сложением, у него есть три сегмента, в каждом из которых размещается аккумуляторный элемент. Эскиз, показанный ниже и включенный в патентный документ, показывает, что самый маленький аккумулятор (T1) находится внутри сегмента, где расположены тройные задние камеры, а второй по величине аккумулятор (T3) — в сегменте с внешним дисплеем. Самый большой аккумулятор (T2) находится внутри сегмента, который будет зажат между двумя другими, когда TriFold сложен.

В документе не указаны индивидуальные или общие емкости аккумуляторов или скорость зарядки, но мы надеемся, что она будет лучше, чем у Galaxy Z Fold7, который поставлялся с миниатюрным аккумулятором на 4400 мАч и скромной проводной зарядкой на 25 Вт (по сравнению с конкурентами).
Эскизы из патентного документа, раскрывающие дизайн Samsung Galaxy Z TriFold
Ходили слухи, что Samsung Galaxy Z TriFold будет эксклюзивом для Южной Кореи и Китая, но позже мы узнали, что он также может появиться в США. Недавние слухи утверждали, что тройной складной смартфон будет представлен в конце этого месяца.
Также в этом месяце ожидается появление первой Android XR-гарнитуры от Samsung под кодовым названием Project Moohan. Говорят, что ее предварительная регистрация в Южной Корее начнется 15 октября и продлится до 21 октября, а запуск запланирован на 22 октября.
Обзор Samsung Galaxy S25 Plus: минорное обновление с фокусом на ИИ




















