
iPhone получат революционный лазерный автофокус
Новый патент Apple раскрывает более умную технологию автофокуса на основе лазеров
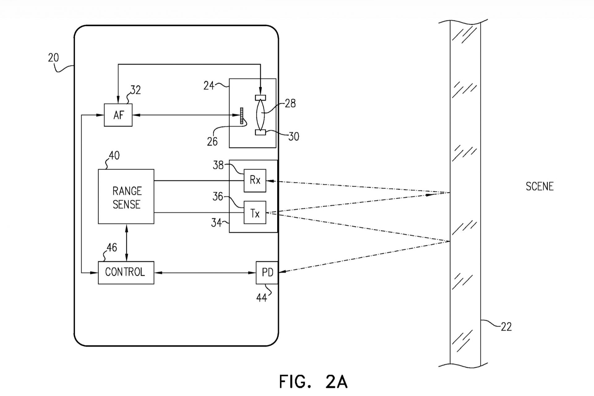
Недавно поданный патент Apple предполагает, что будущие iPhone могут получить серьёзное обновление технологии автофокуса. Вместо использования одного инфракрасного проектора точек, как это делают многие современные модели, Apple изучает систему, которая использует два невидимых лазерных луча, работающих вместе для более быстрой и точной фокусировки, даже когда объект съёмки или пользователь находятся в движении.
Патент под номером US 12335613 B2 объясняет, как будет функционировать эта система с двумя лазерами. Когда вы поднимаете телефон для съёмки, каждый лазер испускает импульс света под слегка разным углом. Крошечные датчики измеряют, сколько времени требуется для возврата этих отражений. Если оба луча согласны в определении расстояния, iPhone немедленно фиксирует фокус. Если нет, система ждёт и переключается на традиционный метод автофокуса перед повторной попыткой.

Это не первый случай появления лазерного автофокуса в смартфонах. LG представила его в LG G3 ещё в 2014 году для улучшения скорости фокусировки при слабом освещении. ASUS также включала лазерные модули в свою линейку Zenfone, в то время как Huawei и OnePlus использовали их как часть гибридных систем, сочетающих лазерные, фазовые и контрастные методы.
Ранние модели Google Pixel также имели лазерный автофокус, хотя позже компания перешла к двухпиксельным и вычислительным подходам. Однако все эти системы использовали одиночный лазерный луч, который мог быть обманут отражающими поверхностями вроде стекла или металла.
Тем не менее, предлагаемая Apple система выделяется использованием двух лазеров под разными углами для более точной проверки расстояния. Если два сигнала не совпадают, телефон возвращается к более традиционным методам фокусировки перед повторной попыткой — то, чего не делает ни одна существующая камера смартфона.

Этот новый подход может помочь уменьшить количество размытых фотографий во многих обычных ситуациях — например, при съёмке бегущего по двору питомца или при захвате пейзажа из движущегося автомобиля или самолёта. Лазеры обеспечивают более точную оценку глубины, особенно при работе с отражающими поверхностями вроде воды, металла или стекла.
Каковы потенциальные преимущества установки с двумя лазерами?
В заявке Apple выделены несколько потенциальных преимуществ:
- Более быстрые фотографии: объективу не придётся искать фокус туда-сюда, поэтому вы с меньшей вероятностью упустите мимолётные моменты.
- Улучшенная точность: система может обнаруживать и избегать ложных отражений, что приводит к более чётким изображениям через окна, заборы или при слабом освещении.
- Лучшая эффективность: меньший поиск фокуса означает меньшее энергопотребление, что может со временем немного продлить время работы батареи.
Важно отметить, что, хотя патент описывает камеру, которая может функционировать в условиях высокой подвижности, Apple не подтвердила, появится ли эта система в предстоящих iPhone. Как и многие патенты Apple, это может стать или не стать коммерческим продуктом. Однако небольшой размер и твердотельный характер компонентов делают их практичным выбором для будущих моделей iPhone или даже таких устройств, как Vision Pro.
Если эта функция всё же появится, Apple может назвать её такими терминами, как «мгновенный лазерный фокус» или «двухлучевая блокировка глубины». Но для пользователей польза будет простой: более надёжная резкость в повседневных фотографиях, особенно когда время и движение работают против вас.
ЧИТАЙТЕ НАШ ОБЗОР ЛУЧШИХ IPHONE 2025 ГОДА: КАКАЯ МОДЕЛЬ БУДЕТ ЛУЧШЕЙ ДЛЯ ВАС?


















