
Galaxy S25 и Galaxy S26 — новый уровень тонкости и дизайна от Samsung
После выпуска Galaxy S25 Edge толщиной 5,8 мм, компания готовит Galaxy S26 с ещё более тонким корпусом.
Похоже, Samsung стремится сделать свои флагманские телефоны ещё тоньше, чем уже довольно тонкая серия Galaxy S25.
В новом отчёте говорится, что компания работает над серьёзным обновлением своей грядущей флагманской серии Galaxy S26, которое позволит уменьшить один из самых громоздких компонентов внутри — модуль камеры.
Новый подход к сборке линз

В отчёте более подробно объясняется, что компания Samsung Electro-Mechanics разрабатывает более тонкий модуль камеры, заменяя традиционные слои плёнки между линзами матовыми чернилами, нанесёнными методом струйной печати.
Эти слои плёнки обычно используются для уменьшения бликов и ореолов, вызванных внутренними отражениями света, но новый подход Samsung позволяет добиться того же результата, уменьшая при этом глубину модуля камеры.

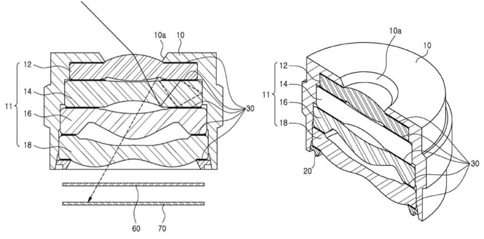
Сообщается, что компания называет этот метод «кольцевым рисунком». Изображение выше, взятое из патента Samsung, поданного в 2018 году, даёт наглядное объяснение. На иллюстрации часть 30 обозначает материал, используемый между элементами объектива для уменьшения внутренних отражений, который теперь планируется заменить на матовые чернила.
Патент всё ещё находится на рассмотрении, но отраслевые источники предполагают, что Samsung планирует внедрить эту технологию в серию Galaxy S26.
Для более тонкого телефона нужна не только тонкая камера
Даже с более тонким модулем камеры Samsung придётся искать другие способы, чтобы сэкономить ещё несколько миллиметров. Помимо перехода на антибликовое покрытие на основе чернил, для более тонкого Galaxy S26 может потребоваться:
- Переход на технологию изготовления аккумуляторов SiC
- Более компактные системы охлаждения паровой камеры
- Более тонкое защитное стекло для передней и задней панелей
В совокупности эти изменения могут помочь Samsung предложить значительно более тонкое устройство без ущерба для функций или времени автономной работы.
Итак, что это значит для вас

В случае успеха новая конструкция модуля камеры Samsung может устранить один из самых распространённых недостатков в дизайне телефонов — выступ камеры. Пока рано говорить о том, что S26 Ultra или даже базовый S26 полностью избавятся от этого выступа.
Уменьшение толщины модуля может привести к улучшению эстетики, повышению удобства в использовании и снижению веса. Хочет ли среднестатистический потребитель более тонкие телефоны — это другой вопрос, но, похоже, все крупные производители, включая Samsung, делают ставку на эти изменения как на следующий шаг в продвижении своих телефонов.
Тем не менее, стремление к ещё более тонкому профилю неизбежно вызывает опасения по поводу времени автономной работы, терморегуляции и структурной целостности.
Это также любопытный шаг, учитывая, что Samsung только что представила Galaxy S25 Edge, совершенно новый вариант, который отличается исключительной тонкостью. Если остальные модели Galaxy S26 будут выполнены в похожем стиле, это может либо нивелировать уникальность Edge, либо сигнализировать о более масштабном сдвиге в философии дизайна Samsung.
В любом случае, до выпуска серии Galaxy S26 ещё много месяцев, и эти заявленные изменения в аппаратной части, скорее всего, ещё дорабатываются. Будет ли Samsung стремиться к единому языку дизайна или просто экспериментирует с эффективностью компонентов, ещё предстоит выяснить.
ЧИТАЙТЕ ТАКЖЕ: SAMSUNG ГОТОВИТ РЕВОЛЮЦИЮ: GALAXY S26 ПОЛУЧИТ НОВЫЙ СЕНСОР КАМЕРЫ


















