
Apple запатентовала радикальную камеру для MacBook — и это может убить чёлку
Скоро ли MacBook избавятся от надоевшего выреза?
В MacBook есть вырез для камеры: многие из вас, вероятно, его даже не замечают, но некоторых он может раздражать. Новое исследование показывает, что Apple продолжает работать над системой камер в своих MacBook и ищет другие способы улучшить её, не увеличивая при этом объём ноутбука.
Недавно был выдан патент под названием «Интеграция камеры в портативные электронные устройства», в котором рассматривается возможность создания камеры более высокого качества для MacBook без увеличения габаритов и веса ноутбука. Ранее (в 2024 году) Apple получила патент на аналогичную идею.
Наличие двух патентов на эту тему может указывать на то, что в Купертино разрабатывают эту идею.
Камера MacBook в новом патенте: тонкий модуль и необычное расположение
Судя по рисункам в новом патенте, новая система камер может быть не толще 3 мм и может выступать за пределы крышки MacBook Pro.
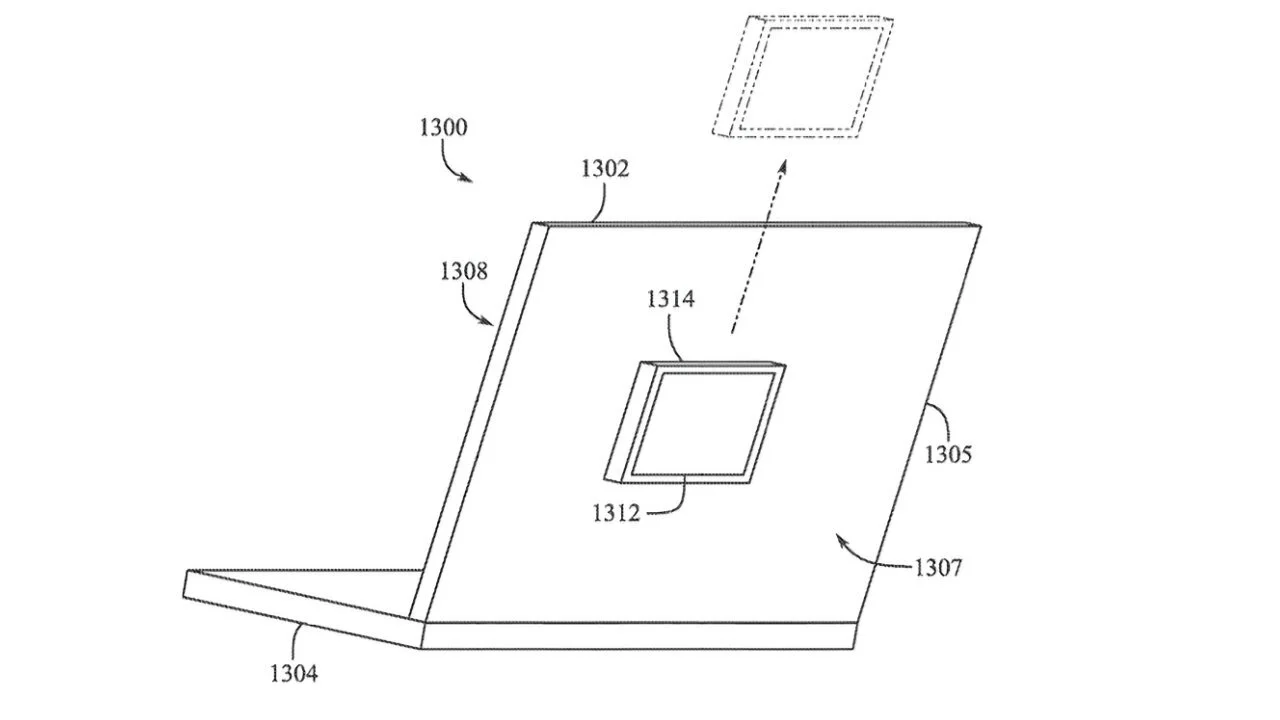
В патенте не уточняется, где будет расположена эта камера, что довольно любопытно. На некоторых рисунках камера частично расположена в выемке, образованной дисплеем. Но на других рисунках эта камера может быть смещена в сторону от экрана или даже убрана с передней панели и закреплена на задней.
Возможно, для крепления системы используются магниты. В патенте Apple описывается «оптический компонент», прикреплённый к «стене» (или крышке) MacBook Pro.
Камера MacBook Pro: несколько модулей и вращающийся экран
Кроме того, в патенте несколько раз упоминается, что модуль камеры может взаимодействовать с другими такими модулями. Например, одна камера расположена на передней панели дисплея и направлена на пользователя, а другая — на задней панели.
В патенте также говорится о том, что это может быть вращающийся дисплей.
Портативное электронное устройство может состоять из базовой части, включающей в себя компонент ввода, и части с дисплеем, которая крепится к базовой части с возможностью поворота.
Камера MacBook будущего: съёмный модуль и гибкое использование
По сути, пользователь мог бы установить один модуль камеры на задней крышке MacBook Pro, а затем поворачивать весь дисплей, когда ему нужно снять видео. Однако в патенте об этом не говорится, и не указано, как можно добиться такого поворота и в чём его польза, что необычно для патента.
Это также может быть беспроводной экран, а не вращающийся, прикреплённый к другой части ноутбука. Его можно будет отсоединить от устройства, а затем вернуть на место, что на первый взгляд кажется довольно удобным. Однако в патенте не рассматриваются возможности настройки экранов или клавиатур.
Как вы знаете, когда дело доходит до патентов, не всегда можно быть уверенным в том, что эти изобретения увидят свет. Возможно, Apple просто изучает эту возможность, но компания всегда может отказаться от этой идеи или решить, что её реализация слишком затратна. Нам остаётся только ждать и наблюдать.
Камера MacBook: удобство или риск потерять модуль?
Между тем мне кажется довольно крутой идея камеры, которую можно перемещать, и даже дисплея ноутбука, который можно переключать из альбомного режима в портретный. Я думаю, было бы здорово, если бы Apple удалось создать что-то подобное, но это звучит довольно необычно.
Однако возникает вопрос о долговечности. Если вы сможете перемещать дисплей и/или модуль камеры, будет ли это достаточно надёжно, чтобы соответствовать высоким стандартам качества Apple? И… что, если вы в итоге потеряете этот модуль камеры, если он полностью съёмный? Я имею в виду, что хожу по разным кофейням со своим MacBook и просто не могу отделаться от мысли, что я могу положить этот модуль камеры рядом с собой на стул и больше никогда его не увижу.
Тем не менее идея звучит интересно. Посмотрим, сможет ли Apple что-то из этого сделать.
Ваш MacBook теперь весы. Нет, это не шутка — и точность пугает



















